HOME   >  新闻资讯  >  华捷新闻

工艺研究系列8:温泉系统专用智能控制设备

2025-04-25

“工艺研究”系列文章之十

清泉能研究院着力研究地热温泉应用领域的痛点难点技术和关键核心技术,联合华捷地热团队,依托院士工作站科创平台,共同构建“工艺研究、设备研制、产品销售”三大服务体系。

本文主要介绍工艺研究体系中的一项创新工艺——温泉系统专用智能控制设备,它主要应用于温泉控制设施技术领域。通过将核心温泉控制系统硬件组件和软件系统进行封装,实现系统封装、技术安全保密、不可私拆的防护。

详情如下:


01研发背景

随着社会经济的发展和居民生活水平的提高,温泉产业迎来快速发展期。在其转型升级过程中,自动化、智能化系统设备的应用已成为提升项目管理效能的关键。

然而,现有温泉给排水中心机房及末端泡池系统的控制方案仍普遍采用传统配电箱作为温泉控制系统的软硬件整合设备,存在明显的技术瓶颈:一方面,传统方案中电气线缆布局复杂,部件分散,缺乏专业的系统集成设计;另一方面,作为温泉运维"控制大脑"的核心系统缺少必要的封装保护和保密措施。

针对这一行业痛点,清泉能研究院创新研发了"温泉系统专用智能控制设备",其将系统控制软件和硬件组件进行了整合集成封装,可作为独立专用的系统智控产品运用于地热温泉综合配水管网系统的局部和整体控制节点,可独立安装也可配合电控柜等安装,有效解决了传统方案存在的技术安全与运维管理难题。


02技术原理

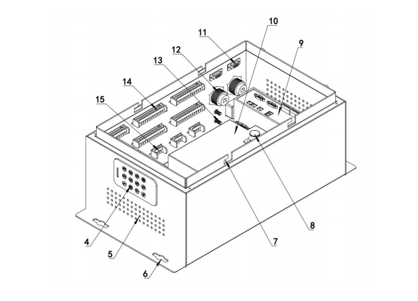
主要由三大功能单元构成:· 设备主体:采用高强度防护箱体设计,配备可活动密封盖和安装底板,形成全封闭式防护结构。

· 核心控制模块:箱体内部集成部署了数据采集单元、中央集控单元和功能扩展模块,实现全系统智能管控。

· 端口系统:箱体侧壁配置多功能端口阵列,包括:通讯端口、网络端口、天线端口、大接线端子排、小接线端子排、电源开关等。


03技术优势

· 广泛适用性:该设备适用范围广,适用于温泉取水配水综合管网系统中各个中心机房及末端泡池系统。

· 高度集成化:通过创新性整合传统分散式系统控制元器件,显著提升系统集成效率。实现了"温泉智控大脑"的小型化封装,强化了技术安全性与保密性。

· 安全防护升级:采用专用封装锁止结构对智能控制软硬件系统进行防护,有效杜绝非授权拆卸及操作失误,降低运维过程中的安全风险,保障温泉系统长期稳定运行。


注:该项技术已获得国家实用新型专利证书,专利号:ZL 2022 2 1829448.0。